Dataset Browser

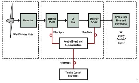
Wind Energy Conversion System

Wind Energy Conversion System

A Wind Energy Conversion System (WECS) is a crucial technology designed to harness the kinetic energy of wind and convert it into usable electrical power. Essential for sustainable development, these systems, primarily consisting of wind turbines, play a vital role in global renewable energy generation, contributing to a cleaner, more environmentally friendly power supply.

Wind Turbine Control Systems Principles Modelling And Gain Scheduling Design 1st Edition

Wind Turbine Control Systems Principles Modelling And Gain Scheduling Design 1st Edition

Explore the fundamentals of wind turbine control systems with this comprehensive guide. This first edition delves into the principles, modeling techniques, and gain scheduling design aspects crucial for efficient and reliable wind energy generation. Understand how to optimize performance and enhance the stability of wind turbine systems through advanced control strategies.

Life Cycle Cost Analysis On Wind Turbines

Life Cycle Cost Analysis On Wind Turbines

Explore the comprehensive financial assessment of wind turbines through Life Cycle Cost Analysis (LCCA). Understand how initial investment, operating expenses, maintenance, and decommissioning costs impact the long-term economic viability and profitability of wind energy projects. This analysis is crucial for optimizing wind farm economics and ensuring sustainable renewable energy development.

solar pv and wind energy conversion systems an introduction to theory modeling with matlabsimulink and the role of soft computing techniques green energy and technology

solar pv and wind energy conversion systems an introduction to theory modeling with matlabsimulink and the role of soft computing techniques green energy and technology

Explore the foundational theory and advanced modeling techniques for solar PV and wind energy conversion systems. This introduction provides practical insights using MATLAB/Simulink, emphasizing the critical role of soft computing techniques in optimizing these renewable energy technologies. It's a comprehensive resource for understanding modern green energy systems.

Books Of Generating Electricity Using Glider

Books Of Generating Electricity Using Glider

Explore the innovative world of electricity generation using gliders with this comprehensive guide. Delving into the principles of airborne wind energy, this book provides essential insights into how the kinetic energy of gliders can be harnessed and converted into sustainable power, offering a fascinating look at future renewable energy technologies.